Ларри Пейджа, одного из основателей Google, нельзя назвать приземленным инвестором. Он — в буквальном и в переносном смысле — смотрит в небо. Журналистам удалось выяснить, что именно Пейдж стоит за двумя стартапами, которые занимаются разработкой «летающего автомобиля» и огромного беспилотника (аппарата вроде гигантского квадрокоптера). Обе компании, Zee.Aero и Kitty Hawk, базируются в Силиконовой долине, сообщает Bloomberg.
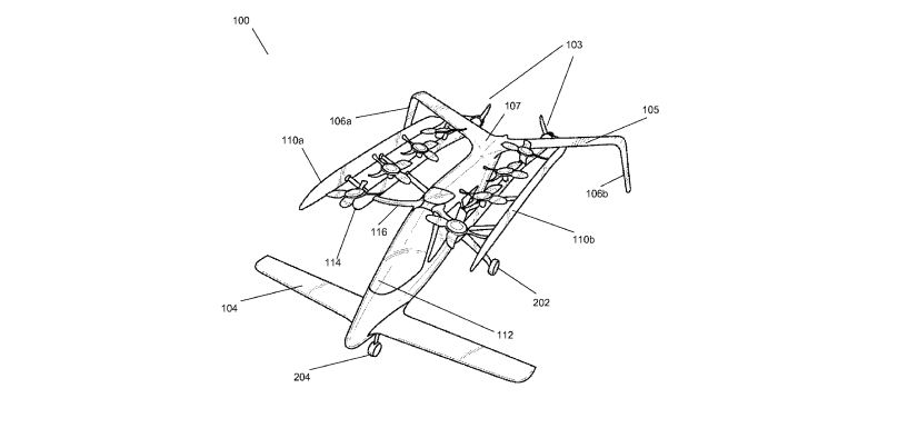
Zee.Aero была основана в 2010 году, а три года назад привлекла внимание СМИ. IT-издания заинтересовались патентами фирмы. Судя по документам, стартап работал над концептом «летающего автомобиля». Транспортное средство предполагалось оснастить множеством электромоторов, вращающих пропеллеры, чтобы оно могло вертикально взлетать и приземляться.
Офис компании располагается рядом с GooglePlex, штаб-квартирой Google Inc. в городе Маунтин-Вью, штат Калифорния. Это уже любопытно, поскольку интернет-гигант контролирует обширный участок земли в данном районе и чужим туда сложно проникнуть. В Zee.Aero всячески отрицали связь с Google, сотрудникам даже выдали небольшие карточки с инструкциями, как отклонять вопросы репортеров.
Впрочем, Zee.Aero действительно не принадлежит ни Google, ни его холдинговой компании Alphabet. Стартап является личным проектом Пейджа и частью его масштабных планов в сфере персональных авиаперевозок. Здесь сразу выстраиваются ассоциации с визионером Илоном Маском. Без него и правда не обошлось: он подарил Пейджу один первых двигателей ракеты SpaceX. Сейчас космический «сувенир» украшает второй этаж штаб-квартиры Zee.Aero, который обустроил для себя сооснователь Google.
Секретность вокруг Zee.Aero такова, что команда стартапа даже не называла Пейджа по имени — он был известен как GUS (guy upstairs, «парень с верхнего этажа»). Общий объем его инвестиций оценивается изданием в 100 млн долларов.
Kitty Hawk не связана с Zee.Aero, но ее возглавляет Себастьян Трун, «крестный отец» программы беспилотных автомобилей Google и основатель исследовательского подразделения Google X.
Теперь главное, чтобы Пейдж не привел в исполнение свою угрозу. По информации агентства, однажды он поклялся, что прекратит финансировать проекты, если общественность узнает о его работе в этой области.
