Весь мир знает корпорацию Apple как производителя популярных мобильных устройств и ПК. Однако компания решила не останавливаться на этом сегменте и занялась технологиями военного назначения: Apple запатентовала поворотно-сцепное устройство для военного вездехода, сообщает CNN.
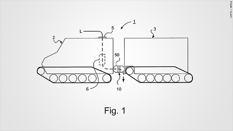
По данным телекомпании, патентное ведомство США одобрило запрос Apple на изобретение, которое в прошлом году запатентовало шведское дочернее предприятие британской оборонной компании BAE Systems. Данное устройство предназначено для улучшения системы управления состоящей из двух частей машины на гусеничном ходу, например, вездехода Bandvagn 202, который выпускает шведская компания Volvo для швейцарской армии. Патент называется «Рулевое устройство для сочлененного транспортного средства».
Пока непонятно почему Apple заинтересовалась военной техникой, но СМИ связывают такие действия корпорации со слухами о разработке собственного автомобиля. Информация о том, что Apple работает над созданием собственного электрокара под кодовым названием Titan появилась в феврале прошлого года. Тогда сообщалось, что над новым проектом в условиях строгой секретности трудятся сотни сотрудников.
