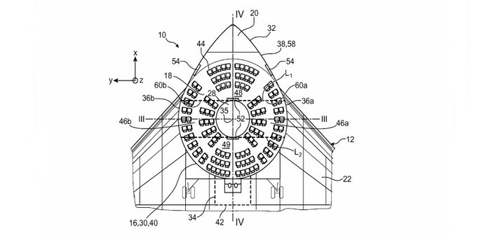
Одна из крупнейших авиастроительных компаний в мире Airbus S.A.S подала заявку на регистрацию патента на новый самолет, пишет РБК. По своему строению самолет чрезвычайно похож летающую тарелку или пончик.
Согласно копии заявки, пассажирский салон авиалайнера будет расположен вокруг кабины пилотов, а не позади нее. В пресс-службе Airbus отметили, что руководство оценило этот проект и считает нужным его запантетовать, однако о его реализации пока речи не идет.
Новая модель НЛО-самолета потребует меньше топлива, а также позволит уменьшить давление на пассажирский салон. Компания регулярно регистрирует необычные патенты: из последних — очки виртуальной реальности и открытая кабина пилотов.

