Apple рассматривает возможность установки скрытой камеры в умные часы Apple Watch. Компания получила патент на изобретение, следует из документанции Управления по патентам и торговым знакам США.
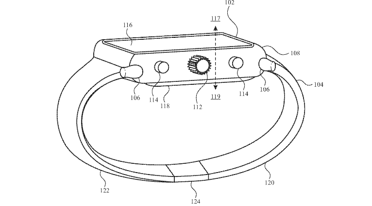
Согласно документам, камеру в часах разместили прямо в колёсике Digital Crown — пользователи смогут делать фотографии, не снимая устройство с запястья. Для того, чтобы сделать фото нужного объекта, достаточно будет вытянуть руку.
При этом в патентной документации опубликовано только расположение камеры. Другой информации о её технических характеристиках нет, но описывается возможность отсоединения часов от запястья для более свободной фотосъёмки.
Эксперты, опрошенные Apple Insider, указали на наличие ряда сложностей, связанных с установкой камеры в часах Apple Watch. Среди них — установка объектива в колесико Digital Crown, которое само по себе является достаточно сложным элементом.
Одним из изобретателей нового патента является Тайлер Бушнелл, который также был автором предыдущей патентной заявки по модернизации заводной головки в часах. Тогда он предложил использовать сенсорный аналог вместо механического Digital Crown — это освободит больше пространства для размещения камеры.
В мае Apple запатентовала виртуальную бумагу для VR и AR. Её можно сгибать, складывать, переворачивать, сминать — отображаемый контент будет выглядеть с учётом всех деформаций.
