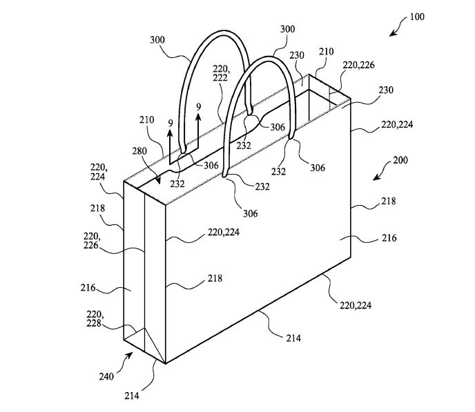
Apple решила защитить патентом бумажные пакеты. Полгода назад компания заменила ими пластиковые пакеты в своих фирменных магазинах. Западные СМИ обратили внимание на то, что 15 сентября Бюро по патентам и товарным знакам США опубликовало соответствующую заявку Apple. Сама заявка была подана еще в марте.
В патенте описывается пакет из твердой выбеленной бумаги, который на 60% состоит из переработанных материалов. Сниженная прочность, связанная с использованием переработанной бумаги, может быть компенсирована «усиливающими вставками». Apple делает ручки пакета из бумажных волокон, благодаря чему они более мягкие и на ощупь напоминают ткань. От других бумажных пакетов разработку Apple отличает большая экологичность.
Редактор The Verge Рассел Брэндом отмечает, что над пакетом работали дизайнеры, которые придумали магнитную зарядку для MacBook и некоторые компоненты для кроссовок Nike.
