Житель Великого Новгорода запатентовал пластмассовую бутылку
Тейдер Анатолий Юрьевич запатентовал пластмассовую бутылку, которая может использоваться в качестве строительного материала (патент полезной модели ПЛАСТМАССОВАЯ БУТЫЛКА RU 69497 U1).
Полезная модель ПЛАСТМАССОВАЯ БУТЫЛКА RU 69497 U1 относится к конструкции пластмассовых бутылок, которые широко используются в качестве тары для транспортировки жидких продуктов типа минеральной воды, растительных масел и т.д.
Задача данной модели – создание простой конструкции пластмассовой бутылки, которая позволяет легко освобождать емкость от её содержимого, а при повторном использовании позволяет выкладывать любые строительные конструкции подобно кирпичам.
Пластмассовая бутылка имеет корпус и заливную горловину. На одной из стенок корпуса выполнена выемка, в которой расположена заливная горловина. Выемка выполнена таким образом, чтобы заливная горловина, с закрепленной на ней крышкой, не выступала наружу за пределы стенок корпуса, а ширина достаточна для захвата пальцами человека крышки, закрепленной на заливной горловине.
Примеры возможного применения:
Декоративное применение в стенках летних домиков, беседок, веранд. При заполнении пластмассовой бутылки водой можно применять в стенах теплиц по аналогии с кирпичом. В этом случае пластмассовая бутылка с водой будет выполнять роль теплового аккумулятора. За день накапливать тепло ночью его отдавать. При замораживании пластмассовой бутылки с водой, использовать её в качестве аккумулятора холода в подвалах для поддержания температуры близкой к нулю в теплый период. UNIPACK.RU |

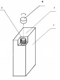
Тейдер Анатолий Юрьевич запатентовал пластмассовую бутылку, которая может использоваться в качестве строительного материала (патент полезной модели ПЛАСТМАССОВАЯ БУТЫЛКА RU 69497 U1).
Полезная модель ПЛАСТМАССОВАЯ БУТЫЛКА RU 69497 U1 относится к конструкции пластмассовых бутылок, которые широко используются в качестве тары для транспортировки жидких продуктов типа минеральной воды, растительных масел и т.д.
Задача данной модели – создание простой конструкции пластмассовой бутылки, которая позволяет легко освобождать емкость от её содержимого, а при повторном использовании позволяет выкладывать любые строительные конструкции подобно кирпичам.
Пластмассовая бутылка имеет корпус и заливную горловину. На одной из стенок корпуса выполнена выемка, в которой расположена заливная горловина. Выемка выполнена таким образом, чтобы заливная горловина, с закрепленной на ней крышкой, не выступала наружу за пределы стенок корпуса, а ширина достаточна для захвата пальцами человека крышки, закрепленной на заливной горловине.
Примеры возможного применения:
Декоративное применение в стенках летних домиков, беседок, веранд.